Vui lòng chọn địa điểm giao hàng của quý khách

Việc chọn trang quốc gia/khu vực có thể ảnh hưởng đến các yếu tố như giá, các lựa chọn vận chuyển và sự sẵn có của sản phẩm.
Liên hệ
CÔNG TY TNHH IGUS VIỆT NAM

Đơn Vị 4 , Tầng 3, Xưởng Tiêu Chuẩn G, Đường Số 17, KCX Tân Thuận, Phường Tân Thuận

Tp. Hồ Chí Minh, Việt Nam

+84 28 3636 4189
VN(VI)

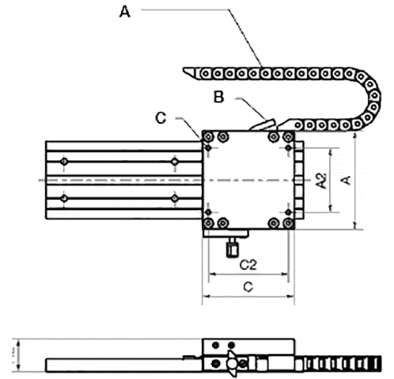
drylin® WKMEX-10-80: Ready-to-install measuring system

A = energychain 045.10.028.0, not part of the article
B = signal cables
C = K2
Very little installation space taken by the drylin® WKMEX measuring system. The sensor head is integrated into the just 36 mm high carriage. There are three sensor options, two are compatible with TTL Line Driver. An igus® e-chain® 045.10.028.0 is recommended for guiding the signal cable. For length-specific part numbers see:
System E2 micro
System easychain®

Ready-to-install system for external data output

At 4 edge triggering (setting parameters of the display or control system, for example, IW4) and +20 °C ambient temperature: resolution: ±(0.025 + 0.02 · L) L = measurement length in metres; repeatability: ±0.025 mm

At 1 edge triggering (setting parameters of the display or control system, for example, IW1) and +20 °C ambient temperature: resolution: ±(0.1 + 0.02 · L) L = measurement length in metres; repeatability: ±0.025 mm

Small sensor with integrated evaluation electronics

Output signals: differential mode sustained short circuit-proof with inverted signals (A. A/, B, B/, Z, Z/)

Delivery Program measuring device

All types A A2 C C2 H2 K2 Resolution    
  [mm] [mm] [mm] [mm] [mm] [mm] [mm]    
WKMEX-10-80-2.5-00-01 107 70 100 87 36 M6 0,1 Theo yêu cầu Thêm vào giỏ hàng
WKMEX-10-80-2.5-01-01 107 70 100 87 36 M6 0,1 Theo yêu cầu Thêm vào giỏ hàng
WKMEX-10-80-2.5-11-01 107 70 100 87 36 M6 0,1 Theo yêu cầu Thêm vào giỏ hàng
Thêm về phần đã lựa chọn:
3D CAD 3D CAD
Yêu cầu hàng mẫu miễn phí Yêu cầu hàng mẫu miễn phí
PDF PDF
Yêu cầu báo giá Yêu cầu báo giá
myCatalog myCatalog
  Sensor type Nominal voltage Output power max. length of signal cable
  00 10 - 30 V 10 - 30 V 30 m
  01 10 - 30 V 5 V (TTL Line Driver) 50 m
  11 5 V 5 V (TTL Line Driver) 10 m
specifications
Measuring principle Incremental
Repeat accuracy ± 1 increment
Pole division 5 mm
Sensor housing Zinc die cast
Protection class IP67
Operating temperature -10 … +70° C
Max. humidity 95%, non-condensing
Max. speed 4,0 m/s
VDC power supply 5 VDC or 10 to 30 VDC
Current draw 5 VDC: max. 200 mA
10 to 30 VDC: max. 150 mA
Internal evaluation electronics Internal evaluation electronics
Output power 5 V-TTL line driver or 10 to 30 V_HTL
Source tracks A, A‘,B, B‘, Z, Z‘
Max. cable length Max. cable length 5V/5V-TTL = 10 m
10-30V/10-30V = 30 m
10-30V/5V-TTL = 50 m

Max. permissible distance from magnetic tape 2,0 mm
Connection method Open cable ends

More information:


Thời gian giao hàng khi yêu cầu

Các thuật ngữ "Apiro", "AutoChain", "CFRIP", "chainflex", "chainge", "chains for cranes", "ConProtect", "cradle-chain", "CTD", "drygear", "drylin", "dryspin", "dry-tech", "dryway", "easy chain", "e-chain", "e-chain systems", "e-ketten", "e-kettensysteme", "e-loop", "energy chain", "energy chain systems", "enjoyneering", "e-skin", "e-spool", "fixflex", "flizz", "i.Cee", "ibow", "igear", "iglidur", "igubal", "igumid", "igus", "igus improves what moves", "igus:bike", "igusGO", "igutex", "iguverse", "iguversum", "kineKIT", "kopla", "manus", "motion plastics", "motion polymers", "motionary", "plastics for longer life", "print2mold", "Rawbot", "RBTX", "readycable", "readychain", "ReBeL", "ReCyycle", "reguse", "robolink", "Rohbot", "savfe", "speedigus", "superwise", "take the dryway", "tribofilament", "tribotape", "triflex", "twisterchain", "when it moves, igus improves", "xirodur", "xiros" and "yes" là nhãn hiệu được bảo hộ hợp pháp của igus® SE & Co. KG tại Cộng hoà Liên bang Đức và ở một số quốc gia khác. Đây là danh sách không đầy đủ các nhãn hiệu (ví dụ: đơn đăng ký nhãn hiệu đang chờ xử lý hoặc nhãn hiệu đã đăng ký) của igus® SE & Co. KG hoặc các công ty liên kết của igus® ở Đức, Liên minh Châu Âu, Hoa Kỳ và/hoặc các quốc gia hoặc khu vực pháp lý khác.

igus® SE & Co. KG xin nhấn mạnh rằng mình không bán bất cứ sản phẩm nào của các công ty Allen Bradley, B&R, Baumüller, Beckhoff, Lahr, Control Techniques, Danaher Motion, ELAU, FAGOR, FANUC, Festo, Heidenhain, Jetter, Lenze, LinMot, LTi DRiVES, Mitsubishi, NUM, Parker, Bosch Rexroth, SEW, Siemens, Stöber và mọi nhà chế tạo về chuyển động khác nêu trong trang web này. Các sản phẩm do igus® cung cấp là sản phẩm của igus® SE & Co. KG

CÔNG TY TNHH IGUS VIỆT NAM

Đơn Vị 4 , Tầng 3, Xưởng Tiêu Chuẩn G, Đường Số 17, KCX Tân Thuận, Phường Tân Thuận, Tp. Hồ Chí Minh, Việt Nam

Số điện thoại: +84 28 3636 4189

Giấy chứng nhận đăng ký doanh nghiệp số: 0314214531

Ngày đăng ký lần đầu: 20-01-2017

Nơi cấp: SỞ KẾ HOẠCH VÀ ÐẦU TƯ THÀNH PHỐ HỒ CHÍ MINH

IGUS VIETNAM COMPANY LIMITED

Unit 4, 3rd Floor, Standard Factory G, Street No. 17, Tan Thuan Export Processing Zone, Tan Thuan Ward, Ho Chi Minh City, Vietnam

Phone: +84 28 3636 4189

Tax code: 0314214531

Date of issuance: January 20, 2017

Place of issuance: DEPARTMENT OF PLANNING AND INVESTMENT OF HO CHI MINH CITY