igus-icon-lupe
igus-icon-lupe
1 of 2
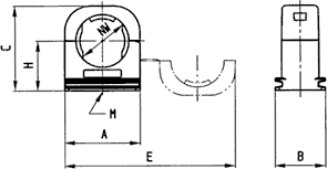
- Polyamide chất lượng cao được pha chế đặc biệt
- Tự dập cháy, không chứa halogen, phốt pho và cadimi
- Khả năng chịu va đập vượt trội
- Phạm vi nhiệt độ: -40°C đến 105°C; ngắn hạn 160°C
igus-icon-lieferzeitI-BFH-10-0
10

